跳过主要内容

IW676.

数字同步整流器替换超高功率密度AC / DC功率适配器的肖特基二极管,包括RapidCharge™

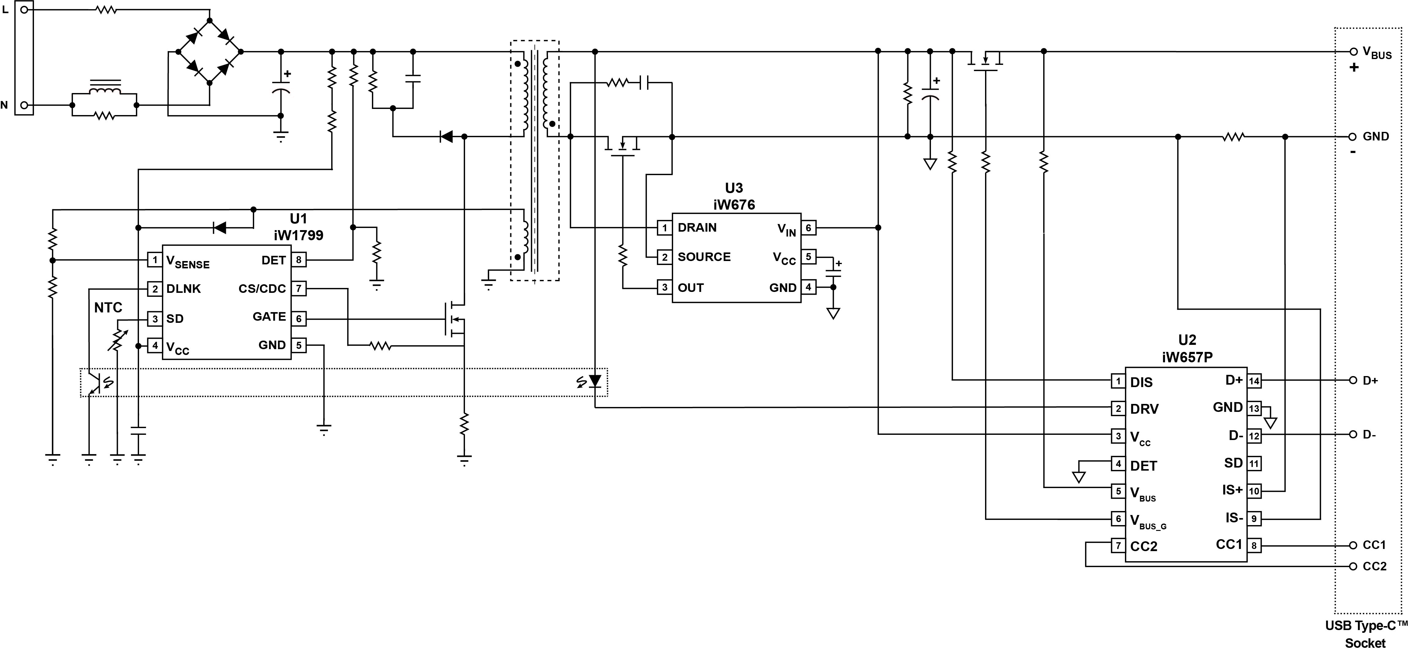
iw1799_iw657p_typical_雷竞技安卓下载applications_diagram _-_ web_v1_3.jpg

优化的最低BOM成本应用高达12V和直接充电至3V雷竞技安卓下载

IW676数字同步整流器可与多个对话框的主侧控制器一起使用,以提供高功率密度,低BOM成本适配器为智能手机和媒体平板电脑提供的高效率,包括RapidCharge™并直接充电应用。雷竞技安卓下载

IW676采用专有的数字自适应关闭控制技术,用MOSFET更换二次侧平行的肖特基二极管,用于高功率密度和更低的成本。比它替换的二极管更有效,IW676也比传统的同步整流器更有效。

iW676在12V和直接充电至3V的应用中实现了最低BOM成本的优化。雷竞技安卓下载它还提供了一个选项,结合Dialog独特的有源电压定位(AVP)控制,以实现超快动态负载响应(DLR)和整个行程适配器的空载功耗低至20mW,不需要添加引脚或外部组件。

一种DIASIM™仿真模型可用于iW676。欲了解更多信息及下载地址,请访问DIASIM™页。

特征

25V输出

在最多12V的应用中针对最低的BOM成本进行了优化雷竞技安卓下载

优化直接充电应用到3V雷竞技安卓下载

宽V.引脚工作电压高达25V

有源电压定位(AVP)控制选项:

  • 低负荷功耗的旅行适配器,低至20MW
  • 超快速动态载荷响应(DLR)
  • 无需额外的销或外部组件

消除并联肖特基二极管

  • 更高的效率,更低的BOM成本

适用于对话框主侧控制器,包括:IW1781IW1782iW1780HiW1602IW1702IW1797.IW1799

雷竞技安卓下载

Compact AC/DC适配器/充电器,适用于智能手机和平板电脑,包括RapidCharge™和直接费用

型号可用!

小型,SOT23 6针包装

框图

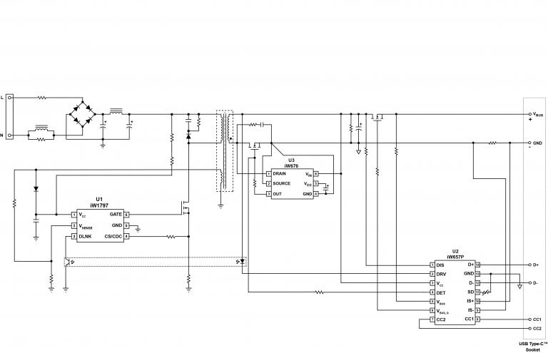
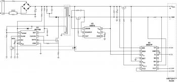
iw1797_iw657p_typical_雷竞技安卓下载applications_diagram_ -_web_v1_1.jpg

IW1797 / IW657P典型应用图雷竞技安卓下载

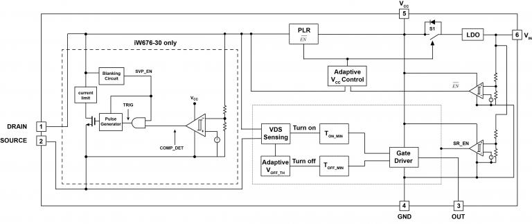
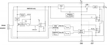
iw676_functional_block_diagram_web.jpg.

IW676功能框图

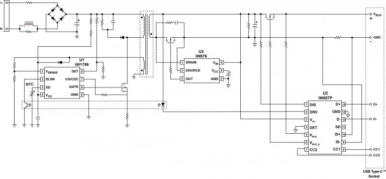
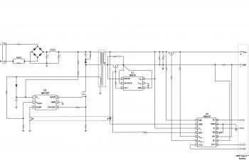
iw1799_iw657p_typical_雷竞技安卓下载applications_diagram _-_ web_v1.jpg

iW1799/iW657P典型应用雷竞技安卓下载

如欲订购我们任何产品的样品,请填写以下表格。雷电竞官网登录我们将免费提供多达5个零件。我们销售部将提供样品订单超过5个零件的价格。

样本请求表格

保持联系

请直接通过我们的全球销售办事处与我们联系,或与我们的全球分销商和代表联系。

调查 经销商和代表 注册通讯
产品简介和摘要
的名字 日期 版本
IW676产品摘要(518.4 KB) 04/10/2019 1.4
数据表
的名字 日期 版本
IW676 Datasheet.(1.05 MB) (仅注册用户) 04/10/2019 1.6
DIASIM仿真工具
的名字 日期 版本
IW676 DIASIM™模型(171.59 KB) (仅注册用户) 12/12/2018 1.0
nl5快速入门指南(4.04 MB) 2016/09/16 1.0
参考设计
的名字 日期 版本
参考设计EBC10203:IW1781-00,IW656-18-00和IW676-00 18W USB PD 5V / 3A,5.5V / 3A,6V / 3A,7V / 2.5A,8V / 2.2A,9V / 2A高效率设计(5.64 MB) (仅注册用户) 18/07/2017 1.0
参考设计EBC10205:IW1781-00,IW656-24-03和IW676-00 24W USB PD 5V / 3A 6V / 3A 7V / 3A 8V / 3A 9V / 2.7A 12V / 2A 15V / 1.6A高效率设计(3.74 MB) (仅注册用户) 18/07/2017 1.0
参考设计EBC10206:IW1781-30,IW656-24-31和IW676-00 24W USB PD 5V / 3A,6V / 3A,7V / 3A,8V / 3A,9V / 2.7A,12V / 2A,15V1.6A(5-10.6V / 2.6A)高效率设计(2.98 MB) (仅注册用户) 18/07/2017 1.0
参考设计EBC10214:IW1791-22,IW676-00和WT6615F 27W USB PD 3.0 5V / 3A,7V / 3A,9V / 3A,12V / 2.25A,5V PPS(3V-5.9V / 3A)和9V PPS(3V-11V / 2.45A)设计(3.46 MB) (仅注册用户) 30/03/2018 1.0
USB PD&PPS 5V/3A,6V/3A,7V/3A,9V/3A,12V/2.25A, 5V PPS (3.3V-5.9V/3A)和9V PPS (3.3V-11V/3A)设计(3.47 MB​​) (仅注册用户) 28/03/2018 1.0
参考设计EBC10216: iW1791-02, iW657P-27-93和iW676-00 USB PD&PPS 5V/3A,6V/3A,7V/3A,9V/3A,12V/2.25A, 5V PPS (3.3V-5.9V/3A)和9V PPS (3.3V-11V/3A)设计(3.44 MB) (仅注册用户) 30/03/2018 1.0
EBC10217: iW1781-30, iW657P-45-94和iW676-00 45W (CP) USB PD&PPS 5V/3A,9V/3A,15V/3A, 20V/2.25A 5V PPS (3.3V-5.9V/3A), 9V PPS (3.3V-11V/3A), 15V PPS (3.3V-15V/3A)和15-16V 45W CP设计(5.33 MB) (仅注册用户) 30/03/2018 1.0
参考设计EBC10218:IW1791-02,IW657P-18-90和IW676-00 18W(22W MAX)USB PD&PD 5V / 3A,6V / 3A,7V / 2.55A,8V / 2.25A,9V / 2A 5V PPS(3.3V-5.9V / 3A)和9V PPS(3.3V-11V / 2A)设计(3.46 MB) (仅注册用户) 30/03/2018 1.0
EBC10219: iW1791-02, iW657P-18-91和iW676-00 18W (CP) USB PD&PPS 5V/3A,6V/3A,7V/2.55A,8V/2.25A, 9V/2A 5V PPS (3.3V-5.9V/3A)和9V PPS (3.3V-9V/2A, 9-11V/CP 18W)设计(3.4 MB) (仅注册用户) 30/03/2018 1.0
参考设计EBC10222:IW1799-02 + IW657P-27-93B + IW676-00 27W USB PD PP PPS恒功率设计(3.71 MB) (仅注册用户) 26/08/2019 1.0
参考设计EBC10223: iW1799-02 + iW657P-27-92B + iW676-00 33W USB PD PPS设计(3.93 MB) (仅注册用户) 26/08/2019 1.0
参考设计EBC10224: iW1799-32 + iW657P-45-94B + iW676-00 45W USB PD PPS 48W Max Design(5.61 MB) (仅注册用户) 26/08/2019 1.0
参考设计EBC10225: iW1799-32 + iW657P-65-F0 + iW676-00 65W USB PD PPS电子标记电缆(EMC)设计(3.68 MB) (仅注册用户) 03/09/2019 1.0
参考设计EBC10240: iW1797-05 + iW676-00 + iW657P-27-92 USB PD PPS 27W设计(3.58 MB) (仅注册用户) 15/07/2020 1.0