跳到主要内容

IW7027.

16通道,外部电流耗水LED驱动器,具有专利的2针感测,可防止LED短路

IW7027  - 典型应用程雷竞技安卓下载序-Dably.jpg

16通道,外部电流槽LED驱动器

IW7027是一个16通道LED背光驱动器,可增强电视图像质量,并降低2D和3D LCD电视的BOM成本。它使用外部LED电流接收器和最多两个外部DC / DC转换器(升压,降压,LLC等),以实现易于电流和电压缩放。By integrating Dialog’s patented BroadLED™ technology, enabling a unique 2-pin LED open/short sensing technology to protect the external current sinks, the iW7027 eliminates the need for high voltage sensing components and reduces the required pin count resulting in a smaller, lower-cost package. The BroadLED technology also enables the use of loosely binned LED arrays, further reducing the total BOM cost.

Dialog的专利AnyMode™调光提供全面、简单和灵活的选择,以提高LED电视画面质量。它允许连续的PWM信号或突发的PWM信号完全同步到视频帧在相同或更高的频率。PWM占空比可以更新在每个视频帧和用户可配置的尾或头延迟。这为减少运动模糊和提高对比度提供了更多的选项。一个内置的锁相环(锁相环)进一步确保无抖动的操作,即使是有噪声的垂直同步信号。

特性

16通道LED驱动器控制器,每个通道无限LED电压

专利广播™自适应开关模式技术,用于最大效率的高电流匹配

  • 使专利的2针外置LED开放式/短保护电路
  • 允许使用更便宜,松散的LED阵列,以降低BOM成本

TQFP-44包 - 减少针计数和成本

柔性输入电源电压额定值:5V / 9V-16V

AnyMode™综合调光控制可提高图片质量

  • 高频PWM调光高达4kHz
  • 扫描模式PWM调光
  • 可配置的相移调光
  • 8位模拟调光
  • 12位PWM调光
  • 混合调光(模拟和PWM)

PWM调光范围:0%至99.9%

可扩展的LED电流

支持2D和3D LCD电视模式

支持图案延迟器(PR)和快门玻璃(SG)3D技术

全面保护功能:

  • 个人LED短路保护
  • 通道到通道短路保护
  • 电流水槽MOSFET漏极源短路保护
  • 电流检测电阻短路保护
  • 微控制器中断接口
  • LED开放式故障检测
  • 过温保护

数字控制扫描模式

外部LED电流接收器mosfet最大的灵活性

SPI Daisy-Chain接口在支持16个以上的LED字符串时简化了设计

即使使用嘈杂的VSYNC信号,内部PLL也可以确保无抖动操作

减少了BOM成本

  • 数字控制引擎消除了对mcu的需求
  • 2针传感器去除外部高压传感组件
  • 5V/9V-16V输入电源电压,无需单独的电压轨

雷竞技安卓下载

直接和边线LED电视

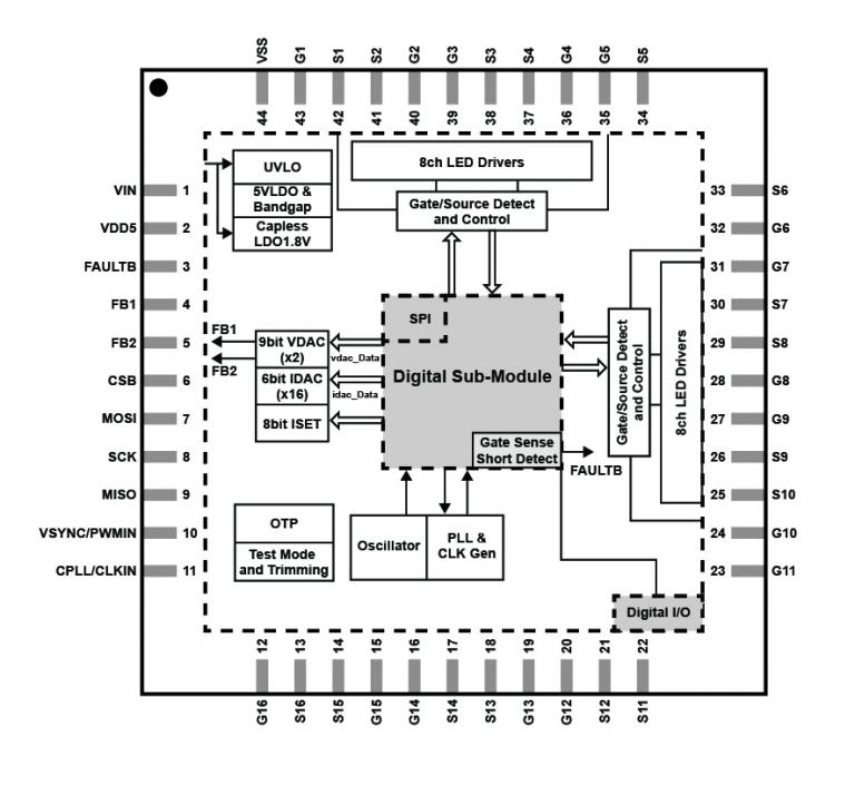
框图

IW7027  - 典型应用程雷竞技安卓下载序-Dably.jpg

典型的应用程序图雷竞技安卓下载

iw7027-functional-block-diagram.jpg

功能框图

要订购我们任何产品的样本,请填写以下表格。雷电竞官网登录我们将免费提供多达五部。我们的销售部门将为样品订单提供超过五个部分的定价。

样本请求表格

保持联系

通过我们的全球销售办事处直接与我们联系,或联系我们的全球经销商和代表之一。

询问 分销商和代表 注册新闻通讯
产品简介和摘要
姓名 日期 版本
iW7027产品总结(629 KB) 30/03/2020 1.0