跳到主要内容

iW7039

高精度,32通道LED背光驱动器,具有集成电流水槽,用于高动态范围(HDR)LCD显示器

IW7039典型应用图雷竞技安卓下载

宽容™技术可提高寿命更长的热性能和更高的可靠性

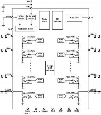
用于LCD背光的IW7039 LED驱动器与先进的数字控制技术集成了32个精密电流槽,以改善直接背光,高动态范围(HDR)显示中的亮度控制。数字控制块使用对话框的宽容™自适应开关技术,通过优化每个LED串的电压降,同时通过未键入的LED匹配精确匹配来提高热性能。

IW7039还使用对话框专利AnyMode调光,提供全面,简单,灵活的选择,可提高HDR显示图片质量。它允许以相同或更高频率完全同步到视频帧的连续PWM信号或非常窄的PWM突发信号。PWM占空比可以在每个视频帧中更新,并具有用户可配置的尾部或头延迟。这提供了更多选择减少运动模糊并提高对比度。

AnyMode调光还有助于通过产生高强度,短持续时间PWM脉冲来减少人类视觉系统(HV)引起的运动模糊。这导致淡出更快的淡出并降低了HV的生理余消效果,对于汽车仪表板显示很重要。

特征

32-channel LED driver with internal MOSFET current sinks

  • Internal current setting resistors – no external resistors required

每通道65V最大输出电压

专利撒布适自适应开关模式技术,用于最大效率的高电流匹配

  • Reduces power dissipation requirements
  • Enables use of cheaper, loosely binned LED arrays for lower BOM cost

支持s 12V (9V to 16V) or 5V supply voltage operation

AnyMode全面调光控制提高了图片质量

  • 12-bit PWM dimming10-bit independent analog dimming
  • Head, tail, center mode PWM alignments to reduce motion blur
  • PWM dimming range: 0% to 99.9%
  • Programmable slew rate – better EMI control

全面保护功能:

  • Individual LED short protection
  • Individual LED open detection
  • 过温保护
  • Microcontroller interrupt interface

高精度内部电流设置

  • 每通道66mA最大;支持2通道分组

SPI Daisy-Chain接口在支持16个以上的LED字符串时简化了设计

3 SPI communication protection modes in one LED driver

Internal PLL ensures jitter-free operation even with noisy VSYNC signal

雷竞技安卓下载

用于HDR液晶电视和监视器显示的直接背光

Block Diagrams

IW7039典型应用图雷竞技安卓下载

典型的应用程序图雷竞技安卓下载

iW7039 Functional Block Diagram

Functional Block Diagram

要订购我们任何产品的样本,请填写以下表格。雷电竞官网登录我们将免费提供多达五部。我们的销售部门将为样品订单提供超过五个部分的定价。

Sample Request Form

Stay connected

通过我们的全球销售办事处直接与我们联系,或联系我们的全球经销商和代表之一。

询问 经销商和代表 Register for newsletters
产品简介和摘要
姓名 日期 版本
iW7039 Product Summary(520.16 KB) 21/09/2020 1.0