IW7027.

IW7027.

16通道,外部电流耗水LED驱动器,具有专利的2针感测,可防止LED短路

一支工程师组织准备回答你的问题

16通道,外部电流槽LED驱动器

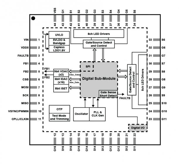
IW7027是一个16通道LED背光驱动器,可增强电视图像质量,并降低2D和3D LCD电视的BOM成本。它使用外部LED电流接收器和最多两个外部DC / DC转换器(升压,降压,LLC等),以实现易于电流和电压缩放。通过整合对话的专利宽容™技术,实现独特的2针LED开放式/短传感技术,可保护外部电流水槽,IW7027消除了对高电压传感部件的需求,并减少了所需的引脚计数,从而导致更小的较低的封装。宽容的技术还使得能够使用松散的LED阵列,进一步降低了总BOM成本。

对话的专利AnyMode™调光提供全面,简单,灵活的选择,可提高LED电视图像质量。它允许以相同或更高频率完全同步到视频帧的连续PWM信号或突发PWM信号。PWM占空比可以在每个视频帧中更新,并具有用户可配置的尾部或头延迟。这提供了更多选择减少运动模糊并提高对比度。即使使用嘈杂的VSYNC信号,也可以确保无抖动操作的内置PLL(锁相环)。

特征

  • 16通道LED驱动器控制器,每个通道无限LED电压
  • 专利广播™自适应开关模式技术,用于最大效率的高电流匹配
    • 使专利的2针外置LED开放式/短保护电路
    • 允许使用更便宜,松散的LED阵列,以降低BOM成本
  • TQFP-44包 - 减少针计数和成本
  • 柔性输入电源电压额定值:5V / 9V-16V
  • AnyMode™综合调光控制可提高图片质量
    • 高频PWM调光高达4kHz
    • 扫描模式PWM调光
    • 可配置的相移调光
    • 8位模拟调光
    • 12位PWM调光
    • 混合调光(模拟和PWM)
  • PWM调光范围:0%至99.9%
  • 可扩展的LED电流
  • 支持2D和3D LCD电视模式
  • 支持图案延迟器(PR)和快门玻璃(SG)3D技术

特征

  • 全面保护功能:
    • 个人LED短路保护
    • 通道到通道短路保护
    • 电流水槽MOSFET漏极源短路保护
    • 电流检测电阻短路保护
    • 微控制器中断接口
    • LED开放式故障检测
    • 过温保护
  • 数字控制扫描模式
  • 外部LED电流吸收MOSFET,可实现最大的灵活性
  • SPI Daisy-Chain接口在支持16个以上的LED字符串时简化了设计
  • 即使使用嘈杂的VSYNC信号,内部PLL也可以确保无抖动操作
  • 减少了BOM成本
    • 数字控制引擎消除了MCU的需求
    • 2针传感器去除外部高压传感组件
    • 5V / 9V-16V输入电源电压消除了单独的电压轨

雷竞技安卓下载

  • 直接和边线LED电视

框图

典型的应用程序图雷竞技安卓下载
功能框图

资源

产品简介和摘要
日期
IW7027产品摘要 30/03/2020 Rev. 1.0.

有关如何购买的技术支持或信息,请直接与我们联系。

请求样本联系我们注册时事通讯

需要技术帮助吗?

访问我们的支持网站:

  • 在线获取对话专家的帮助。
  • 搜索论坛。
  • 访问软件,驱动程序,工具和实用程序。